Operation CHARM
: Car repair manuals for everyone.
Home
>>
Ford
>>
1986
>>
F 150 4WD Pickup V8-302 5.0L
>>
Parts and Labor
>>
Transmission and Drivetrain
>>
Manual Transmission/Transaxle
>>
Images
Images
3 Speed:
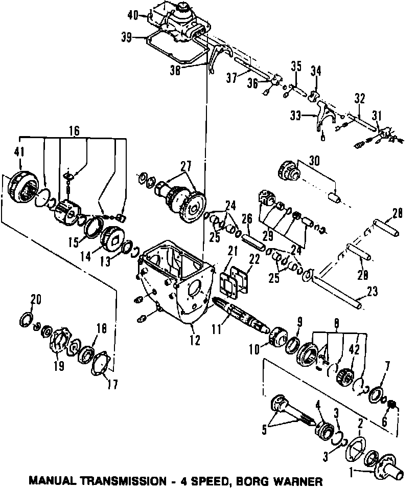
4 Speed, Borg Warner:
4 Speed, Ford Top Shift O/D:
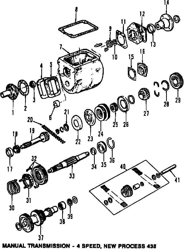
4 Speed, New Process 435:
4 Speed, Overdrive: