Operation CHARM
: Car repair manuals for everyone.
Home
>>
Ford
>>
1986
>>
F 150 4WD Pickup V8-302 5.0L
>>
Repair and Diagnosis
>>
Powertrain Management
>>
Technical Service Bulletins
>>
All Technical Service Bulletins
>>
TFI Module/PIP Sensor - New Diagnostic Procedure
>>
Part 2 TFI-IV Closed Bowl Distributor (With TFI Ignition Tester)
>>
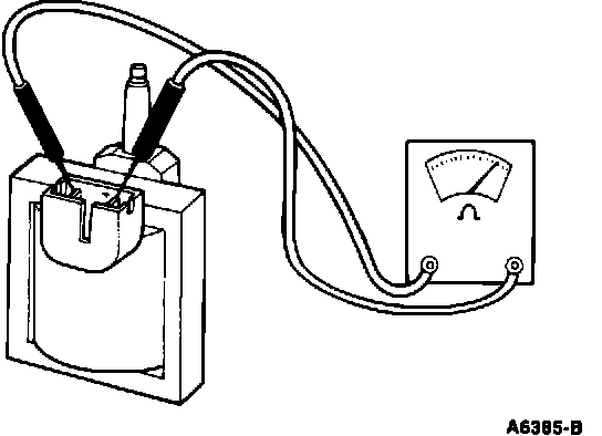
Ignition Coil, Primary & Secondary
Ignition Coil, Primary & Secondary
Ignition Coil Primary Resistance
TFI-IV
Closed Bowl
Distributor
Part 2
Test 8
Ignition Coil Secondary
Resistance
TFI-IV
Closed Bowl
Distributor
Part 2
Test 9